in accordance with Intercontec Standard Power connector Single-pin Types
PDF file Samples and catalog order QuickPin 2.0 Queries to the connectors specialists
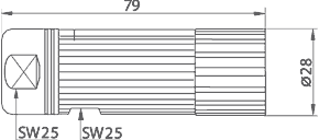
Output plug
Output coupling
Metal version, EMC shielding
PDF file
GToB Imprint General notes Data protection declaration