igusigus-icon-cart(0)

Serija R770

770.17.220.0 product image
igus-icon-lupe
770.17.220.0 technical drawing
igus-icon-lupe
1 od 2
770.17.220.0 product image
770.17.220.0 technical drawing
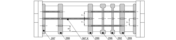
Notranja višina [Hi]
Notranja višina [Hi]
32 mm
Maks.<br> premer<br> kabla
Maks.<br> premer<br> kabla
28 mm
Princip odpiranja
Princip odpiranja
odpira se lahko z obeh strani, pokrovi se lahko odprejo s tečaji
Notranja širina [Bi]
Notranja širina [Bi]
168 mm
Upogibni radij [R]
Upogibni radij [R]
220 mm
Niste prepričani, ali ustreza?
Kaj lahko izboljšamo za vas? Pošljite nam povratne informacije.

O igusu®

Storitve

Kontakt

Naši plačilni sistemi

  • Nakup po naročilu

    Sledite nam

      Bodite na tekočem in se naročite na igusove novice.

      igus-icon-globeJezik:slov|Država:Slovenija

      Izrazi "Apiro", "AutoChain", "CFRIP", "chainflex", "chainge", "verige za žerjave", "ConProtect", "cradle-chain", "CTD", "drygear", "drylin", "dryspin", "dry-tech", "dryway", "easy chain", "e-veriga", "sistemi e-verig", "e-keten", "e-ketensysteme", "e-loop", "energijske verige", "sistemi energijskih verig", "enjoyneering", "e-skin", "e-spool", "fixflex", "flizz", "i.Cee", "ibow", "igear", " iglidur", "igubal", "igumid", "igus", "igus izboljšujemo vse, kar se premika", "igus:bike", "igusGO", "igutex", "iguverse", "iguversum", "kineKIT", "kopla", "manus", "motion plastics", "motion polymers", "motionary", "plastika za daljšo življenjsko dobo", "print2mold", "Rawbot", "RBTX", "RCYL", "readycable", "readychain" , "ReBeL", "ReCyycle", "reguse", "robolink", "Rohbot", "savfe", "speedigus", "superwise", "take the dryway", "tribofilament", "tribotape", "triflex" , "twisterchain", "ko se premika, igus se izboljšuje", "xirodur", "xiros" in "yes" so zakonsko zaščitene blagovne znamke igus® SE & Co. KG/ Köln v ZRJ Nemčiji in po potrebi v nekaterih tujih državah. To ni popoln seznam blagovnih znamk (npr odprte prijave za uporabo znamke ali registrirane blagovne znamke) podjetja igus SE & Co. KG ali odvisnih podjetij igusa v Nemčiji, Evropski uniji, Združenih državah in/ali drugih državah ali jurisdikcijah.

      igus® SE & Co. KG opozarja, da ne prodaja izdelkov podjetij Allen Bradley, B&R, Baumüller, Beckhoff, Lahr, Control Techniques, Danaher Motion, ELAU, FAGOR, FANUC, Festo, Heidenhain, Jetter, Lenze, LinMot, LTi DRiVES , Mitsubishi, NUM, Parker, Bosch Rexroth, SEW, Siemens, Stöber in vsi drugi proizvajalci pogonov, ki se omenjajo na tej spletni strani. Izdelki, ki jih ponuja igus®, so izdelki igus® SE & Co. KG