igus-icon-lupe
igus-icon-lupe
igus-icon-lupe
igus-icon-lupe
igus-icon-lupe
igus-icon-lupe
1 od 6
igus-icon-arrow-left
igus-icon-arrow-right
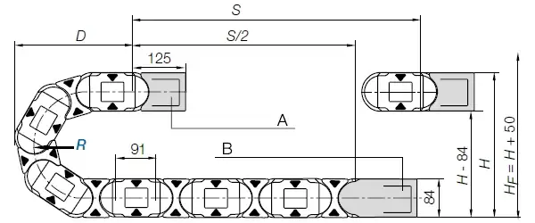
Notranja višina [Hi]
64 mm
Maks.<br> premer<br> kabla
57 mm

Princip odpiranja
Odpiranje vzdolž notranjega in zunanji radij
Notranja širina [Bi]
75 mm
Upogibni radij [R]
125 mm
Aplikacija
igus-icon-checknepodprto
Drsenje
Visenje
Energijske verige
igus-icon-lieferzeitE4.64L.075.125.075125

